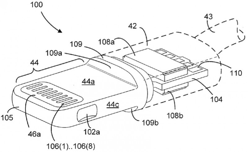
Американское патентное бюро выдало компании Apple патент №9453976, в котором описан оптический разъем. По замыслу изобретателей, он позволит электронному устройству передавать и принимать оптические сигналы через отверстия в корпусе. Заявка была подана в январе прошлого года.

Авторы изобретения уточняют, что разъем может иметь несколько отверстий и быть расположен так, что его трудно будет заметить невооруженным глазом.
Не исключено, что в одном из следующих поколений мобильных устройств Apple оптический разъем сменит порт Lightning, который отправится вслед за забытым ныне 30-контактным разъемом, и разъемом TRS диаметром 3,5 мм, отсутствующим в смартфонах Apple iPhone 7.
Источник: USPTO
